00 Richmond Avenue, Fort Erie, Ontario L2A 5M4

Listed for:
$299,900
0 beds
0 baths
Listed 115 days ago
00 Richmond Avenue, Fort Erie, Ontario L2A 5M4

View all 8 photos

Learn more about this property
Listing provided by:
Keller Williams Complete Realty
MLS® number:
40754317
Agent:
Sarah Ross
*Indicates required field
Name is required
Email is required
Please enter a valid phone number (e.g., 416-111-1111).

About

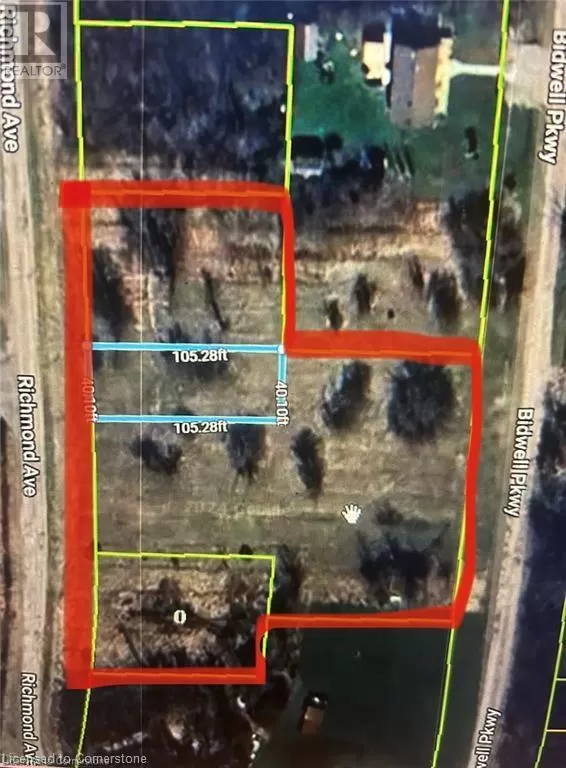
Dominion Road to Richmond Build Your Dream Home or Vacation Retreat! Discover the perfect canvas for your next chapter with this exceptional property, featuring approximately 1 acre of land and an impressive 241 feet of frontage, spread across four parcels with access from both Richmond Avenue and Bidwell Avenue. Nestled in a tranquil, well-established community, this rare offering combines privacy with convenience. Enjoy being just minutes from the stunning shores of Lake Erie, with easy access to multiple public beaches, major highways, schools, recreation centers, shopping, and popular dining spots. Whether you're envisioning a permanent residence or a seasonal escape, this property offers endless potential. Included Property PINs: 644670086, 644670085, 644670084 (id:27476)

Property Highlights

MLS® Number
40754317
Type
Vacant Land
Ownership Type
Freehold
Land Size
1/2 - 1.99 acres

Building

Amenities
Beach, Hospital, Marina, Schools
Fireplace Present
No
Basement Type
None
Basement Features
Building Heating Type
Heating Fuel
Building Cooling Type

Utilities

Water
None
Utility Sewer
No sewage system

Location